AVK UNIVERSAL SURFACE BOX
Ductile iron, reversible for fixed or floating installation

Contact
AVK International A/S
Bizonvej 1, Skovby, 8464 Galten, Denmark
Universal surface box - reversible fixed/floating design
AVK offers a very wide range of surface boxes in fixed, floating and height adjustable designs. The surface boxes of cast iron are pre-mounted with a sealing for optimum tightness between lid and body. The large chamber provides easy access for mounting and demounting extension spindles and the closed design protects the extension spindle against sand and dirt. Furthermore, the surface boxes offer deflection ability and internal fixation of extension spindles.
Variant 04/12-001 | |
---|---|
Material: | Ductile Iron |
Features
- Reversible surface box can be used as fixed and floating surface box
- With deflection ability
- Internal fixation of telescopic extension spindles
- Body and distance ring of ductile iron, lid of grey cast iron
- Lid sealing of NBR rubber
- Fixation plate of PE
- Fusion bonded epoxy coating in compliance with DIN 3476 part 1 and EN 14901
- Lid inscriptions: “Vand - AVK”, “Water – AVK”
Downloads
Datasheet
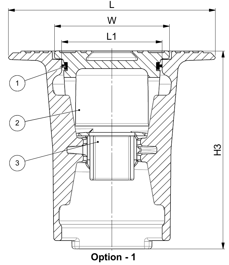
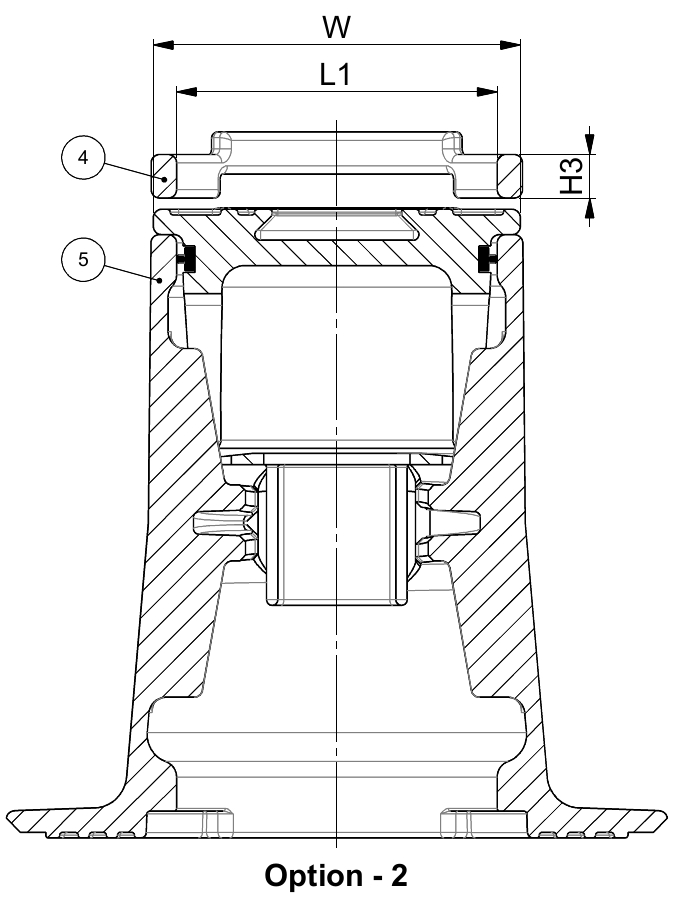
Reference nos. and dimensions:
Scroll for more info
AVK ref. no. | L mm |
L1 mm |
H3 mm |
W mm |
Theoretical weight/kg |
Notes |
---|---|---|---|---|---|---|
04-003-51-000 | 235 | 114 | 224 | 131 | 11 | Complete surface box, lid inscription "VAND". Without distance ring |
04-003-53-00 | 132 | 114 | 15 | - | 0.3 | Distance ring, blue epoxy |
04-003-59 | 60 | 52 | 50 | 120 | 0.1 | Fixation plate |
04-003-62-00 | 2.6 | Lid inscription "VAND - AVK", blue epoxy | ||||
04-003-69-000 | 235 | 114 | 224 | 131 | 11 | Complete surface box inscription lid "WATER". Without distance ring |
Enquiry
Scroll for more info
Components
1. | O-ring | NBR rubber |
2. | Lid | Cast iron GJL-250 (GG-25) |
3. | Fixation plate | PE |
4. | Distance ring | Ductile iron GJS-400-15 (GGG-40) |
5. | Body | Ductile iron GJS-400-15 (GGG-40) |
Standards
- Designed to all standards